开盘大涨!完全自主可控、国产CPU第一股登陆科创板!市值近350亿!
2022-06-24 12:16:30 EETOPEETOP 6 月 24 日消息,刚刚,国产 CPU 设计厂商龙芯中科正式登陆科创板。
龙芯中科发行价为 60.06 元 / 股,开盘价为 96.28 元 / 股,涨幅 60.31%。随后有所回落,截止上午收盘价为85.77 元 / 股,上涨42.81%, 总市值 344 亿元。

报告期内,龙芯中科营收实现了快速增长,2019 年-2021 年其营收分别为4.86 亿元、10.82 亿元和 12.01 亿元。
龙芯中科控股股东为天童芯源公司,实际控制人为龙芯中科董事长、总经理胡伟武和投资总监晋红夫妇。
本次 IPO,龙芯中科计划募资35.12 亿元,将分别用于“先进制程芯片研发及产业化”、“高性能通用图形处理器芯片及系统研发”和“补充流动资金”3 个项目。申购结束后,龙芯中科募资总额为 24.62 元,较预计募资相差 10 亿元以上。
龙芯中科最早起源自中科院计算所 2001 年开始的“龙芯”项目,2008年,由中科院和北京市政府共同牵头出资,成立龙芯中科技术有限公司,旨在依托“龙芯”十余年的研发技术,将“龙芯”处理器研发成果产业化。
十多年来,在胡伟武带领下,龙芯中科坚持走自主创新路线,克服重重困难,不断完善自主产业生态。龙芯中科是国内唯一坚持基于自主指令系统构建独立于 Wintel 体系和 AA 体系的开放性信息技术体系和产业生态的 CPU 企业。
具体来讲:
与国内多数集成电路设计企业购买商业 IP 进行芯片设计不同,龙芯中科坚持自主研发核心 IP,形成了包括系列化 CPU IP 核、GPU IP 核、内存控制器及 PHY、高速总线控制器及 PHY 等上百种 IP 核。
与国内多数 CPU 企业主要基于 ARM 或者 X86 指令系统融入已有的国外信 息技术体系不同,龙芯中科推出了自主指令系统 LoongArch,并基于 LoongArch 迁移或研发了操作系统的核心模块,包括内核、三大编译器 ( GCC、LLVM、 GoLang ) 、三大虚拟机 ( Java、JavaScript、.NET ) 、浏览器、媒体播放器、 KVM 虚拟机等。形成了面向信息化应用的基础版操作系统 Loongnix 和面向工控 类应用的基础版操作系统 LoongOS。
与国内多数 CPU 设计企业主要依靠先进工艺提升性能不同,龙芯中科通过设计优化和先进工艺提升性能,摆脱对最先进工艺的依赖。通过自主设计 IP 核, 克服境内工艺 IP 核不足的短板。
目前,龙芯中科基于信息系统和工控系统两条主线开展产业生态建设,面向网络安全、办公与业务信息化、工控及物联网等领域与合作伙伴保持市场合作,系列产品在电子政务、能源、交通、金融、电信、教育等行业领域已获得广泛应用。
主要产品

主要产品包括了龙芯一、二、三系列CPU。龙芯一号面向嵌入式;二号面向工控与终端;龙芯三号主打高性能,可以面向桌面及服务器。
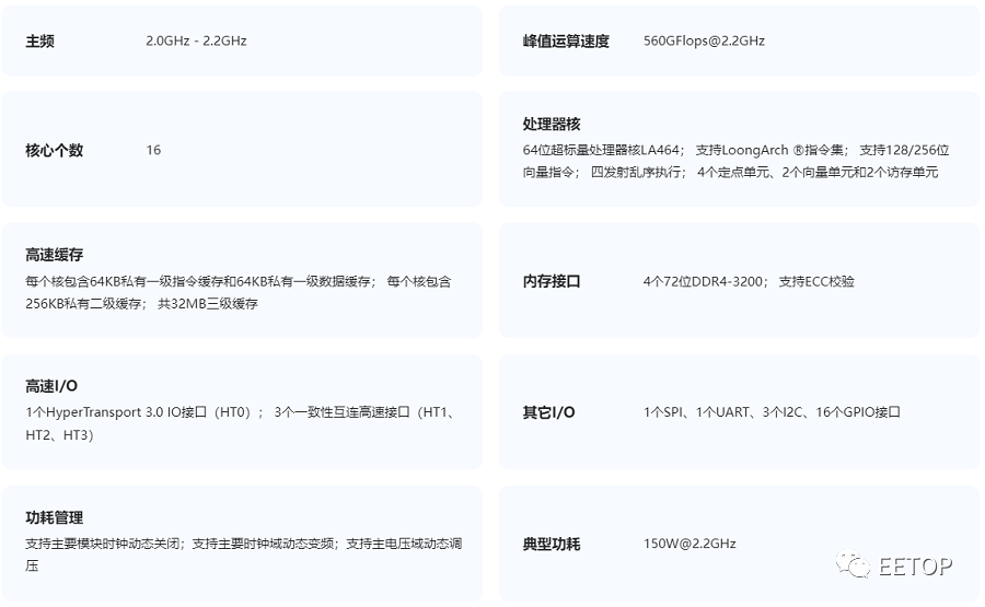
其中最近推出的龙芯3C5000系列是龙芯中科面向服务器领域倾力打造的高性能通用处理器,采用完全自主的LoongArch指令架构,具备超强算力,16核心单芯片unixbench分值9500以上,双精度计算能力达560GFlops,16核处理器峰值性能与典型ARM 64核处理器的峰值性能相当,并支持最高16路互连,搭配新一代龙芯7A2000桥片,PCIe吞吐带宽比上一代提升400%以上。可满足通用计算、大型数据中心、云计算中心的计算需求。该处理器通过芯片级安全机制可为等保2.0、可信计算、国密算法替代、网络安全漏洞防护等提供CPU级内生支持。
性能参数如下:

发展历程: