华为可变光圈专利曝光,可以无极调级及伸缩堆叠!
2023-05-29 12:06:01 EETOP此前华为在 Mate 50 系列和 P60 系列上推出了 10 档可变光圈镜头,采用六叶片开合设计,可以根据需要拍摄出更加真实的虚化效果。现在最新公布的专利显示,华为将进一步开发可变光圈镜头技术。

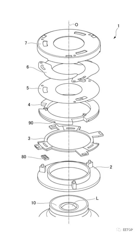
在(中国)国家知识产权局网站中可以看到,华为技术有限公司在 5月23日申请了一项「可变光圈设备」专利公布,带来了一种新的可变光圈方式。
专利说明书介绍,目前常规传统的手机相机模块,光圈值 f 数是固定的,无法自由的变更。这是因为想自由更改 f 数就需要额外的机械装置,会导致相机模块的大小增加。需要通过紧凑的机械装置来调整f 数,才可搭载于微型相机模块上。
在专利中看到了一种包括多个叶片的可变光圈装置。叶片通过装置中的致动器进行移动。为了更好的控制光圈的大小,该装置不直接检测转子的位置,而是通过检测光圈单元外部的致动器的移动。这样的设计很难缩小可变光圈装置的大小,还难以正确控制叶片的位置。
该发明的目的是提供一种适用于微型相机模块的可变光圈的微型装置,并且可通过直接检测转子的位置来正确地控制光圈的大小。
专利所述可变光圈结构包括至少一个线圈,一个磁传感器,多个叶片。叶片组成光圈,线圈负责提供电流,磁传感器感应叶片的转动。通过这些机构的配合实现自由的切换光圈大小。
值得一提的是,博主@数码闲聊站和@定焦数码预测,该专利很可能就是华为的「无极结构镜头」,当前只支持 10 档调节,未来很可能会升级为无级调节光圈,并采用伸缩式堆叠。
关键词: 可变光圈