x

三款适合于工业4.0及新连接的MCU平台

2022-11-10 12:09:50 EETOP
点击关注->创芯网公众号,后台告知EETOP论坛用户名,奖励200信元
多家MCU供应商最近发布了新的软件、平台和模块,以不断扩大无线连接的范围。

世界依赖物联网(IoT)等无线技术,拥有无缝的互联网连接和高数据速率。但是,随着无线技术带来的所有好处,集成和分发也面临着挑战。

为了应对这些挑战并满足新兴应用的需求,半导体制造商正在推出最先进的微控制器平台、软件和模块,以加速互联系统的开发。

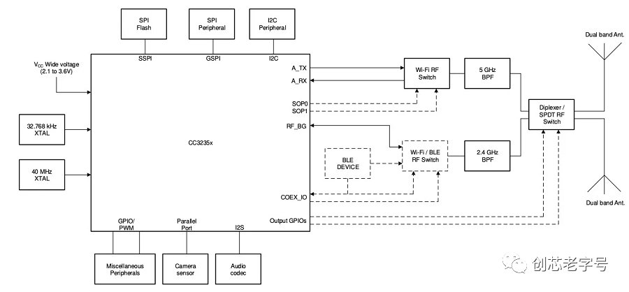
德州仪器的Matter-enabled MCU软件

德州仪器(TI)最近宣布为Wi-Fi和Thread MCU(如CC3235SF和CC2652R7)推出新的支持Matter的软件开发工具包(SDK)。这些SDK专为超低功耗设备、安全智能家居设备以及工业物联网应用而设计,这些应用需要在不同的专有生态系统之间进行互操作。

Matter是由连接性标准联盟开发的物联网协议,在Thread和Wi-Fi网络层上运行,并使用蓝牙低能耗在不同的生态系统之间进行通信。Matter提供了一个统一的应用层,因此制造商可以使用这个开源工具来加速他们的物联网系统开发。

图片

CC3235x SimpleLink Wi-Fi 解决方案的功能框图。图片由德州仪器提供

TI表示,与竞争设备相比,其新的SimpleLink无线MCU可以在Thread应用中将待机功耗降低多达70%。对于长距离连接,该芯片集成了一个高效放大器,在+20 dBm增益下仅消耗101 mA。TI声称这是业界同类芯片中功耗最低的芯片。此外,其双频、多层安全系统使设计人员能够保护设备免受潜在的网络威胁。

STM32工业4.0无线模块

无线网络在制造工作流程的每个阶段都是必不可少的,从原型设计到生产。它们提供经济高效的部署选项、整体资产管理和操作便利性。此外,连接的传感器提供有意义的数据,以帮助提高工业生产力并减少浪费。

意法半导体的新模块STM32WB5MMGH6旨在简化意法半导体新型无线微控制器的部署,打造完整的无线生态系统。该模块使用流行的标准运行,例如低功耗蓝牙、Zigbee、线程和其他专有协议。

图片

STM32WB5MMG模块框图,由意法半导体提供

该模块集成了芯片天线、匹配电路、SMPS 和超低功耗模式,可延长电池寿命。由于其高灵敏度的接收器和高输出功率信号,它提供了卓越的RF射频)性能,使其适用于快速原型设计和低成本开发。

意法半导体的新模块已经在帮助新产品,包括I-Care Group的Wi-Care传感器,这是一种连续的资产监控系统。当这些传感器与基于云的人工智能驱动平台相结合时,它们将提供完整的工业4.0解决方案。该公司声称其解决方案可以避免99%的工业故障,并将机器停机时间减少10-20%,维护成本减少35-45%。

Microchip的智能计量平台

智能计量通过实时测量能耗并促进从电表到云的通信,在数字电网中发挥着重要作用。实时能耗数据允许分销商实时合并其部署和需求,并减少浪费。

然而,随着安全和监管要求的提高,智能电表不断发展。为了满足这些需求,Microchip宣布推出PIC32CXMT系列32位微处理器,采用新型MPL460 PLC调制解调器(电力猫),面向工业物联网以及商业和工业计量应用。

图片

Microchip用于智能计量的新型MCU产品。图片由Microchip提供

该平台的工作频率高达 200 MHz,并拥有高达 560 kB 的 SRAM(静态随机存取存储器)。它还可以提供收发器解决方案,包括无线电/PHY、PLC/PHY或选择PLC+RF混合解决方案的选项。

PIC32CXMT 处理器系列有三个版本:Arm Cortex-M4F 内核、双 Cortex-M4 内核和 SoC 器件。它们还集成了专有的片上硬件安全功能,以实现高可靠性。新型PLC调制解调器具有用于信号放大的线路驱动器,简化了开发,并由于其D类拓扑结构而保持了超过40%的信号注入效率。


关键词: 工业4 0 MCU

  • EETOP 官方微信

  • 创芯大讲堂 在线教育

  • 半导体创芯网 快讯

全部评论