NS公司的DS90UR905Q/906Q
芯片组是5-65MHz 24位彩色FPD-Link II串行化器和串并转换器,能把并行RGB视频接口转换成高速串行接口,在双绞线上传输,从而大大方便了系统设计.主要应用在
汽车电子导航显示器和娱乐显示器.本文介绍了DS90UR905Q/906Q
芯片组的主要特性,方框图以及典型的连接框图.
DS90UR905Q/DS90UR906Q:5 - 65 MHz 24-bit Color FPD-Link II Serializer and
Deserializer
The DS90UR905Q/906Q chipset translates a parallel RGB Video Interface into a high-speed serialized interface over a single pair. This serial bus scheme greatly eases system design by eliminating skew problems between clock and data, reduces the number of connector pins, reduces the interconnect size, weight, and cost, and overall eases PCB layout. In addition, internal DC balanced decoding is used to support AC-coupled interconnects.
The DS90UR905Q Ser (serializer) embeds the clock, balances the data payload, and level shifts the signals to highspeed low voltage differential signaling. Up to 24 inputs are serialized along with the three video control signals. This supports full 24-bit color or 18-bit color and 6 general purpose signals (e.g. Audio I2S) applications.
The DS90UR906Q Des (deserializer) recovers the data (RGB) and control signals and extracts the clock from the serial stream. It is able to lock to the incoming data stream without the use of a training sequence or special SYNC patterns, and does not require a reference clock. A link status (LOCK) output signal is provided.
Serial transmission is optimized by a user selectable de-emphasis, differential output level select features, and receiver equalization. EMI is minimized by the use of low voltage differential signaling, receiver drive strength control, and spread spectrum clocking compatibility. The Des may be configured to generate Spread Spectrum Clock and Data on its parallel outputs.
The DS90UR905Q (Ser) is offered in a 48-pin LLP and the DS90UR906Q (Des) is offered in a 60-pin LLP package. They are specified over the automotive AEC-Q100 grade 2 temperature range of -40℃ to +105℃.
DS90UR905Q/906Q主要特性:
■ 5 – 65 MHz PCLK support (140 Mbps – 1.82 Gbps)
■ AC coupled STP interconnect cable up to 10 meters
■ Integrated terminations on Ser and Des
■ @ Speed link BIST mode and reporting pin
■ Optional I2C compatible Serial Control Bus
■ RGB888 + VS, HS, DE support
■ Power down mode minimizes power dissipation
■ 1.8V or 3.3V compatible LVCMOS I/O interface
■ Automotive grade product: AEC-Q100 Grade 2 qualified
■ >8 kV HBM and ISO 10605 ESD Rating
■ Backward compatible mode for operation with older generation devices
SERIALIZER — DS90UR905Q
■ RGB888 + VS/HS/DE serialized to 1 pair FPD-Link II
■ Randomizer/Scrambler — DC-balanced data stream
■ Selectable output VOD and adjustable de-emphasis
DESERIALIZER — DS90UR906Q
■ FAST random data lock; no reference clock required
■ Adjustable input receiver equalization
■ LOCK (real time link status) reporting pin
■ EMI minimization on output parallel bus (SSCG)
■ Output reduced drive strength (RDS)
DS90UR905Q/906Q 应用:
■ Automotive Display for Navigation
■ Automotive Display for Entertainment

图1.DS90UR905Q方框图

图2.DS90UR906Q方框图

图3.DS90UR905Q/906Q应用框图

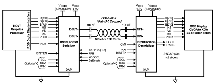
图4.DS90UR905Q典型连接框图-引脚控制
DS90UR905Q/906Q DS90UR905Q Typical Connection Diagram — Pin Control

图5.DS90UR906Q典型连接框图-引脚控制