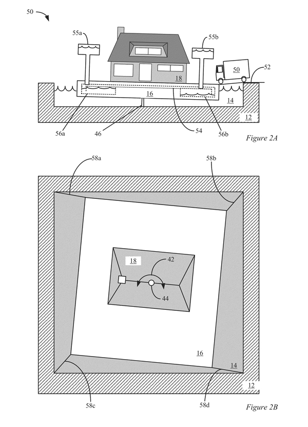
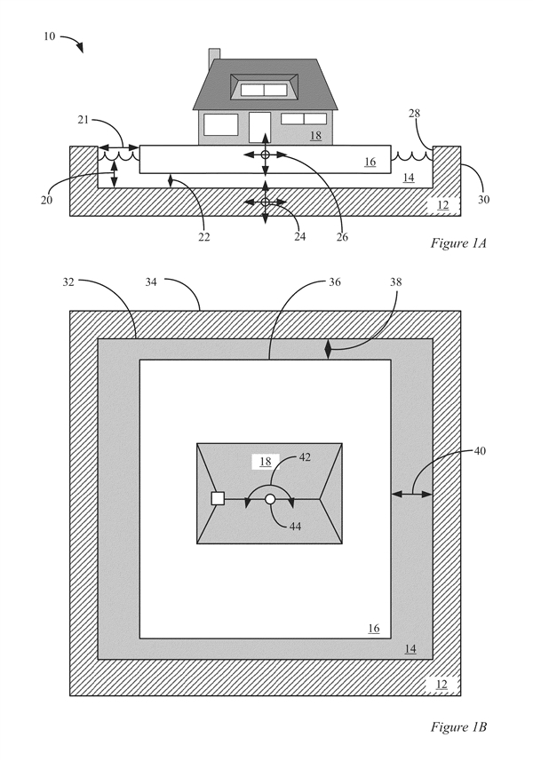
地震来袭不怕:磁悬浮房屋技术诞生
2015-06-14 22:02:07 mydrivers上个月,尼泊尔和日本先后发生了里氏7.5级和8.5级地震,其中前者受损严重。对于抵御地震灾害,一方面是加强气象地质监测,提升预警能力,另一方面对避震方式的进阶,科学家也一直在探索。据Business Insider报道,最近以研发出悬浮滑板而著称的ArxPax公司正在开发一种新技术,可以让建筑与悬浮起来避免在地震中遭到破坏。具体来说,原理很简单,和现在已有的磁悬浮列车是一样的。该公司设计了一个“应急升力系统”,理论上可以使建筑物在地震中升起,避免损坏或倒塌。

据悉,该项悬浮技术可以将一桩三层楼的高楼悬浮起大约90秒,而单项组件的成本只有13美元。如今,悬浮列车可以承重50000公斤,完全可以应用到房屋上。
目前,美国地质调查局正与该项目创造者ShakeAlert共同合作,当地质调查局发出地震的警告后,房屋就会启动这项悬浮技术,防止损坏。
当然,目前这一技术还处于技术研讨阶段,真实的设计工作还未展开。